当前位置: 首页 > 新闻焦点

张庭名下多家公司拟注销!96套房产、银行账户已全部解封

来源:证券时报、红星新闻 2024-01-30 小编

“微商女王”张庭冲上热搜。

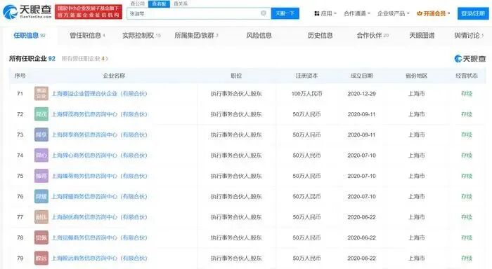
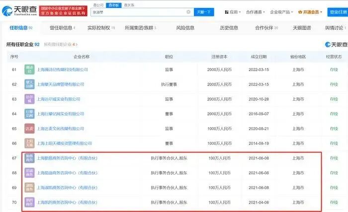
天眼查App显示,近日,上海勤慈商务咨询中心(有限合伙)、上海茹迪商务咨询中心(有限合伙)、上海淑凯商务咨询中心(有限合伙)、上海凯的商务咨询中心(有限合伙)新增注销备案信息,注销原因均为决议解散,公告日期截至3月初。上述4家咨询中心均成立于2021年,出资额均为100万人民币,由张淑琴(张庭)担任执行事务合伙人并持股99%。

目前,除上述拟注销企业外,张庭名下共有75家企业为存续状态,包括上海达尔威贸易有限公司、上海淘不庭文化传媒有限公司、临沂上阳房地产开发有限公司等。

图片

图片

图片

图片

去年10月,《法治周末》记者了解到,张庭达尔威一案已经被石家庄市裕华区人民法院裁定解除对其资产的查封,解除查封被申请人共计96套房产,并解除冻结被申请人名下多笔银行存款,银行账户也全部解封。

据报道,本案系张庭(本名张淑琴)、林瑞阳(本名林吉荣)旗下上海达尔威有限贸易公司涉网络传销案。2021年6月5日,河北省石家庄市裕华区市场监管局以“涉嫌传销”启动对该公司的立案调查。

该案被申请人为上海振泓生物科技有限公司、上海巨壁亿网实业有限公司、上海广鹏投资管理咨询有限公司等多个主体。

据法院裁判文书显示,石家庄市裕华区人民法院于2021年7月20日裁定查封被申请人上海振弘生物科技有限公司、上海巨警亿网实业有限公司名下共计96套房产。

经石家庄市裕华区人民法院审查认为,《国家工商总局关于进一步做好查处网络传销工作的通知》[工商竞争字(2016)115号]第三条规定,县、市级工商、市场监管部门查处网络传销案件,应在立案前或立案同时逐级报备至省级工商、市场监管部门。现该报备已撤销,本院对本案涉嫌网络传销资产继续实施保全措施的条件已不具备。

石家庄市裕华区人民法院依照《最高人民法院关于适用的解释》第一百六十六条第一款第(四)项规定,裁定如下:解除对被申请人上海振泓生物科技有限公司、上海巨警亿网实业有限公司名下坐落于上海市浦东新区江耀路28号共计96套房产的查封。

此外,经石家庄市裕华区人民法院裁定,解除被申请人名下多笔银行存款的冻结,银行账户也全部解封。案件申请费5000元,由申请人石家庄市裕华区市场监督管理局负担。


责任编辑:小编

特别说明:本网部分文章信息来源于网络转载,只是出于传递更多信息之目的,并不意味赞同其观点或对其内容的真实性负责。如对文章内容有疑议,请及时与我们联系删除。